ASCO

Proportionalventil - Luftaktiveret skråsædeventil, 2/2- eller 3/2-vejs

Serie E290/E390 med Positioner D

Serie E290(2-vejs) / E390(3-vejs) er en præcis, robust og hurtigt reagerende skråsædeventil. Den er velegnet til udendørsappliaktioner og har meget lang levetid holdbarhed fremfor konventionelle ventiler.

 

Med positioner monteret, som på denne udgave, kan ventilen regulere og altså levere et variablet flow proportionalt til styresignalet. Derfor bruger ventilen også kun luft når den skifter stilling.

 

Ventilen bruges f.eks. til at fylde, dosere eller mixe i fødevareindustrien eller til gasbrændere eller varmeveksler.

  • Præcis, solid og hurtigt regulerende sædeventil som er velegnet til udendørs installationer indenfor industri
  • Samme fordele som almindelige skråsædeventiler med højt uforstyret flow og god holdbarhed
  • Meget lang levetid
  • Styresignal 0-10V eller 4-20mA.
  • Mulighed for vacuum- eller Oxygen-versioner

Udvalgt variant

Udvalgt variant

Specifikationer

Differenstryk damp max 10 bar
Differenstryk luft max 10 bar
Differenstryk max 10 bar
Differenstryk min 0 bar
Differenstryk olie max 10 bar
Differenstryk vand max 10 bar
Effektforbrug 3,6 W
Flowkoefficient 7,1
Forsyningsspænding AC/DC max 24 V
Funktion 1 2/2
Funktion 2 Normalt lukket
Gennemløb 20 mm
Gentagelsesnøjagtighed <1 %
IP-klasse IP65
Materiale aktuator Armeret polyamid
Materiale disk Messing
Materiale disktætning PTFE, Rustfrit stål
Materiale hus Bronze
Materiale stempelstang Rustfrit stål
Materiale stempelstangstætning PTFE
Materiale ventilhus Bronze
Max flow 118 l/min
Max tryk 16 bar
Medietemperatur fra -10 °C
Medietemperatur til 180 °C
Strøm maks 0,15 A
Styretryk max 8 bar
Styretryk min 4 bar
Temperaturområde fra 0 °C
Temperaturområde til 50 °C
Tilslutning 3/4 BSP
Tilslutning luft 1/8 BSP
Type ventil Proportionalventil
Viskositet max 600 cSt

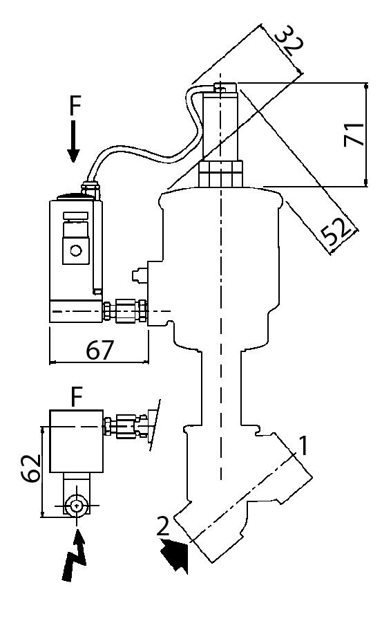
Mål & tilslutninger

Produktbeskrivelse

Serie E290(2-vejs) / E390(3-vejs) er en præcis, robust og hurtigt reagerende skråsædeventil. Den er velegnet til udendørsappliaktioner og har meget lang levetid holdbarhed fremfor konventionelle ventiler.

 

Med positioner monteret, som på denne udgave, kan ventilen regulere og altså levere et variablet flow proportionalt til styresignalet. Derfor bruger ventilen også kun luft når den skifter stilling.

 

Ventilen bruges f.eks. til at fylde, dosere eller mixe i fødevareindustrien eller til gasbrændere eller varmeveksler.

Tilbehør

Relaterede produkter

Vi er nu distributør
Virksomhedsnyt

GAC Governors America Corp

Pr. 15. Februar 2026 er OEM Automatic Klitsø A/S dansk distributør for GAC (Governors America Corp.).

Powerstart Listing
Virksomhedsnyt

Powerstart Limited

Pr. 15. Februar 2026 er OEM Automatic Klitsø A/S dansk distributør for Powerstart Limited.

Skueglas og belysning Listing
Tips og guides

Procesovervågning til lukkede og krævende miljøer

Hos os får du gennemprøvede løsninger til procesovervågning og visuel inspektion i lukkede beholdere og anlæg. Sortimentet omfatter skueglas og belysning fra FH Papenmeier, udviklet til brug i både standard- og krævende industrielle miljøer.

MS filtre
Produktnyheder

Driftssikker filtrering til fødevareprocesser

M&S’ vinkelfiltre og snavssamlere er udviklet til effektiv filtrering og opsamling af procesrester i fødevareindustrien, hvor driftssikkerhed, hygiejne og nem service er afgørende. Et vinkelfilter til fødevarer anvendes til pumpbare medier og beskytter kritiske komponenter som pumper, ventiler og varmevekslere mod slid, tilstopning og uplanlagte driftsstop.

x guard maskinafskaermning
Produktnyheder

X‑Guard maskinafskærmning – fleksible og sikre hegnsystemer til industrien.

At beskytte både mennesker og maskiner er en selvfølge i et sikkert og effektivt produktionsmiljø. Med X‑Guard maskinafskærmning fra Axelent tilbyder vi hos OEM Automatic Klitsø et komplet, modulært og brugervenligt hegnsystem, der opfylder alle gældende krav til maskinsikkerhed og standarder. X‑Guard er udviklet med tre tydelige grundprincipper: fleksibilitet, enkel montering og høj sikkerhed. Resultatet er et smart og velafprøvet system, som i dag er et af markedets mest populære maskinafskærmninger til industrielle miljøer.

Liag ventil Listing
Produktnyheder

Hygiejniske ventiler fra LIAG – effektiv produktgenvinding og hygiejne i én løsning

I fødevare-, kosmetik- og farmaceutisk industri er der høje krav til hygiejne og effektivitet. Når du arbejder med viskose produkter, pastøse medier eller væsker med partikler, er det afgørende at have en ventil, der sikrer fuld passage, nem rengøring på stedet (CIP) og minimal vedligeholdelse.

Favoritter Artikler Differenstryk damp max Differenstryk luft max Differenstryk max Differenstryk olie max Differenstryk vand max Effektforbrug Flowkoefficient Forsyningsspænding AC/DC max Gennemløb Gentagelsesnøjagtighed IP-klasse Materiale aktuator Materiale disk Materiale disktætning Materiale hus Materiale stempelstang Materiale stempelstangstætning Materiale ventilhus Max flow Max tryk Strøm maks Styretryk max Styretryk min Temperaturområde fra Temperaturområde til Tilslutning Tilslutning luft Type ventil Viskositet max Pris
10 bar
10 bar
10 bar
10 bar
10 bar
3,6 W
7,1
24 V
20 mm
<1 %
IP65
Armeret polyamid
Messing
PTFE, Rustfrit stål
Bronze
Rustfrit stål
PTFE
Bronze
118 l/min
16 bar
0,15 A
8 bar
4 bar
0 °C
50 °C
3/4 BSP
1/8 BSP
Proportionalventil
600 cSt
10 bar
10 bar
10 bar
10 bar
10 bar
3,6 W
7,1
24 V
20 mm
<1 %
IP65
Armeret polyamid
Rustfrit stål
PTFE, Rustfrit stål
Rustfrit stål
PTFE
Rustfrit stål 316L
118 l/min
16 bar
0,15 A
8 bar
4 bar
0 °C
50 °C
3/4 BSP
1/8 BSP
Proportionalventil
600 cSt
6 bar
6 bar
10 bar
6 bar
6 bar
3,6 W
15
24 V
25 mm
<1 %
IP65
Armeret polyamid
Messing
PTFE, Rustfrit stål
Bronze
Rustfrit stål
PTFE
Bronze
250 l/min
16 bar
0,15 A
8 bar
4 bar
0 °C
50 °C
G1
1/8 BSP
Proportionalventil
600 cSt
6 bar
6 bar
10 bar
6 bar
6 bar
3,6 W
15
24 V
25 mm
<1 %
IP65
Armeret polyamid
Rustfrit stål
PTFE, Rustfrit stål
Rustfrit stål
PTFE
Rustfrit stål 316L
250 l/min
16 bar
0,15 A
8 bar
4 bar
0 °C
50 °C
G1
1/8 BSP
Proportionalventil
600 cSt
6 bar
6 bar
10 bar
6 bar
6 bar
3,6 W
21
24 V
32 mm
<1 %
IP65
Armeret polyamid
Messing
PTFE, Rustfrit stål
Bronze
Rustfrit stål
PTFE
Bronze
350 l/min
16 bar
0,15 A
8 bar
4 bar
0 °C
50 °C
1 1/4 BSP
1/8 BSP
Proportionalventil
600 cSt
6 bar
6 bar
10 bar
6 bar
6 bar
3,6 W
21
24 V
32 mm
<1 %
IP65
Armeret polyamid
Rustfrit stål
PTFE, Rustfrit stål
Rustfrit stål
PTFE
Rustfrit stål 316L
350 l/min
16 bar
0,15 A
8 bar
4 bar
0 °C
50 °C
1 1/4 BSP
1/8 BSP
Proportionalventil
600 cSt
4 bar
4 bar
10 bar
4 bar
4 bar
3,6 W
29
24 V
40 mm
<1 %
IP65
Armeret polyamid
Messing
PTFE, Rustfrit stål
Bronze
Rustfrit stål
PTFE
Bronze
483 l/min
16 bar
0,15 A
8 bar
4 bar
0 °C
50 °C
1 1/2 BSP
1/8 BSP
Proportionalventil
600 cSt
4 bar
4 bar
10 bar
4 bar
4 bar
3,6 W
29
24 V
40 mm
<1 %
IP65
Armeret polyamid
Rustfrit stål
PTFE, Rustfrit stål
Rustfrit stål
PTFE
Rustfrit stål 316L
483 l/min
16 bar
0,15 A
8 bar
4 bar
0 °C
50 °C
1 1/2 BSP
1/8 BSP
Proportionalventil
600 cSt
3 bar
3 bar
10 bar
3 bar
3 bar
3,6 W
40
24 V
50 mm
<1 %
IP65
Armeret polyamid
Messing
PTFE, Rustfrit stål
Bronze
Rustfrit stål
PTFE
Bronze
667 l/min
16 bar
0,15 A
8 bar
4 bar
0 °C
50 °C
G2
1/8 BSP
Proportionalventil
600 cSt
3 bar
3 bar
10 bar
3 bar
3 bar
3,6 W
40
24 V
50 mm
<1 %
IP65
Armeret polyamid
Rustfrit stål
PTFE, Rustfrit stål
Rustfrit stål
PTFE
Rustfrit stål 316L
667 l/min
16 bar
0,15 A
8 bar
4 bar
0 °C
50 °C
G2
1/8 BSP
Proportionalventil
600 cSt
2 bar
2 bar
10 bar
2 bar
2 bar
3,6 W
72
24 V
65 mm
<1 %
IP65
Armeret polyamid
Messing
PTFE, Rustfrit stål
Bronze
Rustfrit stål
PTFE
Bronze
1200 l/min
16 bar
0,15 A
8 bar
4 bar
0 °C
50 °C
2 1/2 BSP
1/8 BSP
Proportionalventil
600 cSt
2 bar
2 bar
10 bar
2 bar
2 bar
3,6 W
72
24 V
65 mm
<1 %
IP65
Armeret polyamid
Rustfrit stål
PTFE, Rustfrit stål
Rustfrit stål
PTFE
Rustfrit stål 316L
1200 l/min
16 bar
0,15 A
8 bar
4 bar
0 °C
50 °C
1 1/2 BSP
1/8 BSP
Proportionalventil
600 cSt
10 bar
12 bar
12 bar
12 bar
12 bar
20 mm
Bronze
157 l/min
3/4 BSP
10 bar
16 bar
16 bar
16 bar
16 bar
20 mm
Bronze
157 l/min
3/4 BSP
10 bar
16 bar
16 bar
16 bar
16 bar
15 mm
Rustfrit stål 316L
82 l/min
1/2 BSP
10 bar
10 bar
10 bar
10 bar
10 bar
20 mm
Rustfrit stål 316L
157 l/min
3/4 BSP

Udvalgt variant

Vælg en variant på listen

Teknisk rådgivning

Henrik Philipsen

Produktchef, Tryk & Flow

Kundeservice
Har du har brug for hjælp? Kontakt os:
Har du brug for hjælp? Klik her!
Logo

COOKIE-INDSTILLINGER FOR OEMKLITSO.DK

Cookies hjælper os med at forbedre din oplevelse med os. Så for at kunne analysere trafikken, håndtere loginoplysninger, tilbyde dig personlige oplysninger og for at grundlæggende funktionalitet kan fungere på webssitet, skal vi bruge nogle cookies.

NØDVENDIGE COOKIES

Disse cookies er nødvendige for, at webstedet fungerer og kan ikke slås fra i vores systemer. De bruges normalt kun som reaktion på handlinger, du har foretaget i forbindelse med en serviceanmodning, f.eks. Når du angiver personlige præferencer, logger ind eller udfylder en formular.

ANALYSE OG MÅLING

Disse cookies giver os mulighed for at tælle antallet af besøg og trafikkilder, så vi kan måle og forbedre vores websteds ydeevne. De hjælper os med at vide, hvilke sider der er mere eller mindre populære, og hvordan besøgende navigerer rundt på webstedet. De oplysninger, som disse cookies indsamler, er aggregerede og derfor helt anonyme. Hvis du ikke tillader disse cookies, ved vi ikke, hvornår du har besøgt vores websted.

MARKEDSFØRING

Disse cookies kan tilføjes af vores partnere. De kan bruge dem til at oprette en profil af dig baseret på dine interesser for at vise dig mere relevante oplysninger. De gemmer ingen personlige oplysninger - kun oplysninger om din browser og enhed. Hvis du ikke accepterer disse cookies, får du en mere generel og mindre tilpasset brugeroplevelse.